Research & Study,  電動車&充電樁

公用充電樁架構介紹

充電樁的優勢

現在全世界正在慢慢走向電動車的時代,目前很多廠商已經慢慢將市場重心轉移到電動車上。

當電動車的市占率愈來愈高之後,充電樁的重要性也會隨之提高。最理想的充電樁和電動車的比例是一比一,故進入電動車時代時,隨處可見的充電樁勢必是未來的趨勢。

甚麼是公用充電樁

充電樁是一種為電動汽車(包含純電動汽車和可插電的混合動力電動汽車)補充電能的裝置,類似燃油汽車所使用的加油站

 

主要之使用對象為一般消費者,通常建設在公共停車場結合停車泊位,為社會車輛提供公共充電服務。

充電樁架構

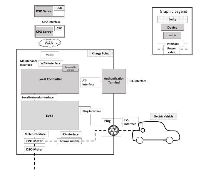
充電樁的架構圖

公用充電樁的架構圖大致上為上所示。

線路主要分為兩種,一種是實現為網路線路,另外一種虛線則代表的電力線路。

我將其架構分成三塊:分別 充電樁 ( Charge Point ) 、 外網伺服器、客戶端部分。

CP

CP 裡面主要包含著 本地伺服器 ( Local Controller )、 電池管理系統 ( EVSE )、 與 客戶端終端 ( Authentication Terminal ) 。

本地伺服器為整個充電站的核心,主要進行資料處理、與 CPO 伺服器進行連線、進行充電管理等等;另外 EVSE 則是 負責管理電力的問題,會跟 CPO 電表、電流開關、充電槍進行連接。

外網伺服器

外網伺服器的主要是由 DSO 和 CPO 組成,DSO 是電力提供廠商,以台灣來舉例就是台電;CPO 則是提供服務的廠商,以目前最有名的來舉例就是特斯拉。

正常來說如果有人透過手機 APP 要確認是否有位置、或是預約充電,都是將請求發送到 CPO Server ,CPO Server 再進行工作分配  。

客戶端

客戶端就是泛指需要進行充電的用戶。

客戶端會操作導的就是Authentication Terminal,簡單來說就是像停車場繳費機的機器,供用戶進行認證、付錢。

留下一個回覆

發佈留言必須填寫的電子郵件地址不會公開。 必填欄位標示為 *